Roulement à rouleaux croisés en acier | Machines Production

Roulement à rouleaux croisés en acier

lire plus tard
Atelier Fiche produit

Description


Caractéristiques techniques

Matière
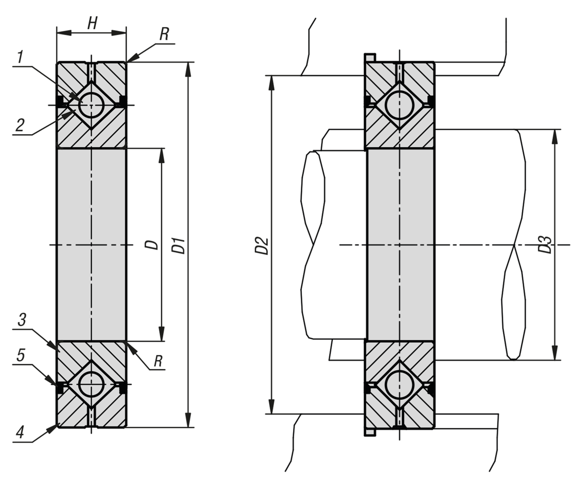
Bague intérieure, bague extérieure et éléments roulants en acier à roulement.

Nota
Les roulements à rouleaux croisés en acier sont composés d’une bague intérieure et d’une bague extérieure en une seule pièce. Cette structure monobloc des bagues permet d’obtenir une grande rigidité, une grande précision et un fonctionnement silencieux. Le roulement à rouleaux croisés convient aussi bien pour la rotation de la bague intérieure que pour la rotation de la bague extérieure.

Pour le jeu radial du palier, vous avez le choix entre deux versions : palier avec jeu normal C1 (référence : 23831-0XXXXX) ou palier précontraint S1 (référence : 23831-1XXXXX).

Les roulements à rouleaux croisés sont fabriqués dans la classe de tolérance P0. La classe de tolérance désigne l’écart radial et axial entre la bague intérieure et la bague extérieure.

Les roulements à rouleaux croisés possèdent un joint d’étanchéité des deux côtés.

D’autres jeux de palier et classes de tolérance sont disponibles sur demande.

Tarif

Non mentionné

Téléchargements

 23831-Datasheet-34144-Roulement-rouleaux-crois-s-en-acier-fr

5, rue des Libellules
10280 FONTAINE LES GRES

03 25 71 89 30

Plus d'infos ou devis

 J'accepte que mes coordonnées soient transmises à l'entreprise présentée sur cette page ainsi que mon message lié
Créez votre fiche produit Créer gratuitement votre fiche produit
Logo Machines Production
Math Captcha :    -